Soumis par Amperiste le
Le teasing le plus long et le plus garni de l'histoire de l'électomobilité a pris fin hier après-midi : la BMW i3 a été présentée.
Si vous vous intéressez à l'automobile électrique allemande, et à la BMW i3 en particulier, il ne vous a sans doute pas échappé que ce 29 juillet 2013 était le jour de la présentation officielle de l'i3. Et si vous avez "réservé" la votre, vous avez reçu plusieurs emails pour vous rappeler combien il est important d'interrompre vos vacances ou votre travail pour assister à la présentation de 14h.
Elle a eu lieu dans 3 villes simultanément, et était retransmise en direct sur le plus gros site de vidéo du monde (vous pouvez la revoir si vous voulez). Ces 3 villes étaient New-York, Londres et Pékin. Étonnamment, pas Munich qui est pourtant le siège de la marque à l'hélice. BMW a mis les moyens pour cette présentation, et semble fortement croire en son produit.
La présentation est à l'image de l'essaimage d'informations au fil des mois qui ont précédé : incompatible avec l'impatience. En effet, bien que la présentation soit retransmise exclusivement sur internet, il faut attendre plus de 20 minutes de blabla pour que le drap qui recouvre l'i3 ne se lève. Du next premium, de la sustainability, de la belle hôtesse et de l'anglais avec l'accent allemand à gogo. Mes les amateurs seront comblés, on trouve tous les standards de l'écologie / du greenwashing (choisissez) dans cette présentation. Des arbres, des éoliennes, des dauphins, et ils ont même amené des enfants pour appuyer sur le gros bouton à la fin !
Croustillant dialogue entre l'hotesse nord américaine et la jeune fille après le dévoilement : "Tu veux la conduire?" "Oh oui, j'adorerais!" "Eh bien il va falloir attendre." La phrase est coupée mais sans doute l'hôtesse a-t-elle ajouté "Tu vois tous les gens devant la scène? Cela fait plus de deux ans qu'ils attendent et qu'on les fait saliver, alors tu peux bien attendre comme eux."

Rappelons comme il se doit les particularités de l'i3 (en italique pour la future version avec prolongateur REx):
- Architecture LifeDrive (Chassis skateboard en aluminium et cellule d'habitacle en plastique renforcé aux fibres de carbone)
- 4 places
- Portes arrières à ouverture antagoniste
- Propulsion avec un moteur électrique de 125kW / 250Nm
- Prolongateur d'autonomie bicylindre essence 0,65l de 34ch
- Vitesse maximale 150 km/h
- 0-100 km/h en 7,2/7,9s, 80-120 km/h en 4,9/5,5s
- Batterie lithium-ion de 18.8 kWh
- Autonomie NEDC 190km / 170km
- Autonomie "moyenne client" 130 - 160 km
- Recharge à 50kW à 80% en 30 minutes
- Recharge à 16A en 6-8 heures
- Réservoir d'essence de 9l
- Autonomie du prolongateur 170km
- Poids à vide 1 195kg / 1 315 kg, maxi 1 620kg / 1 730 kg
- Consommation électrique NEDC 12,9 /13,5 kWh / 100km (Zoé : 14,6)
- Consommation essence combinée NEDC 0,6 l/100km
- Pneus 155/70 R19 à l'avant et à l'arrière (175/65 R19 à l'arrière)
- Prix de base 34 990€ (avant bonus)
Une note sur la consommation du prolongateur : en extrapolant la valeur de consommation combinée, on trouve 5,16 l/100km et en divisant la capacité du réservoir par l'autonomie on trouve 5,29 l/100km. Les performances dynamiques en prolongation ne sont pas communiquées.
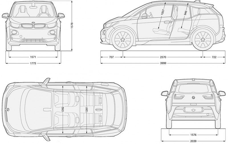
Dimensions :

Une petite vidéo officielle de l'i3 :
